装配注意事项
在装配时较正偏位,可使联轴器有较长的寿命。
1.轴外伸尺寸
每种型式的外伸尺寸如下表。如果衬套采用干涉自己合,应该放入油中加热才会均匀,再套到轴上。
P | 型 号 | 23 | 32 | 35 | 42 | 50 | 58 | 74 | 83 | 95 | 109 | 118 | — | — |
T40、T41 | 1.5 | 1.5 | 2 | 2 | 3 | 3 | 3.5 | 4 | 4 | 5 | 6 | — | — | |
型 号 | 51 | 55 | 67 | 72 | 85 | 110 | 111 | 133 | 152 | 165 | 178 | 187 | 205 | |
T61 | 1.5 | 1.5 | 2 | 2 | 2 | 2 | 3 | 3 | 3 | 4 | 4 | 5 | 5 | |
型 号 | — | — | — | 95 | 108 | 110 | 111 | 133 | 152 | 165 | 178 | 187 | 205 | |
T81 | — | — | — | 2 | 2 | 2.5 | 3 | 3 | 4 | 4 | 5 | 5 | 6 |
2.角偏位
将千分表固定好,转动另一侧衬套,读取其数值,其范围如下表。

偏 位 值 | 型 号 | 23 | 32 | 35 | 42 | 50 | 58 | 74 | 83 | 95 | 109 | 118 | — | — |
T40、T41 | 0.1 | 0.15 | 0.15 | 0.2 | 0.2 | 0.25 | 0.3 | 0.3 | 0.35 | 0.4 | 0.45 | — | — | |
型 号 | 51 | 55 | 67 | 72 | 85 | 110 | 111 | 133 | 152 | 165 | 178 | 187 | 205 | |
T61 | 0.2 | 0.2 | 0.25 | 0.3 | 0.35 | 0.45 | 0.45 | 0.5 | 0.6 | 0.65 | 0.7 | 0.7 | 0.8 | |
型 号 | — | — | — | 95 | 108 | 110 | 111 | 133 | 152 | 165 | 178 | 187 | 205 | |
T81 | — | — | — | 0.3 | 0.35 | 0.45 | 0.45 | 0.5 | 0.6 | 0.65 | 0.7 | 0.7 | 0.8 |
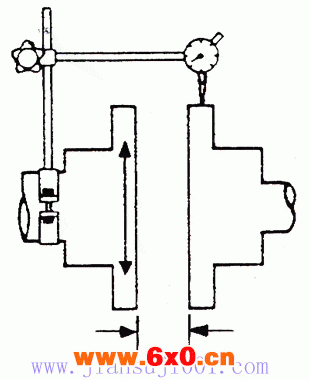
3.平行偏位
将千分表固定好(如左图),转动另一侧衬套,读取其数值,每1000mm为2mm。







QQ交流群

