连杆浮球液位开关的原理*接线盒图解

来源:网络  作者:网络转载   2019-10-07 阅读:909

产品原理: 连杆浮球液位开关与小型浮球液位开关原理基本相同,通常将密封的非磁性金属或塑胶管内根据需要设置一点或多点磁簧开关,再将中空而内部有环形磁铁的的浮球固定在杆径内磁簧开关相关位置上,使浮球在一定范围内上下浮动,利用浮球内的磁铁去吸引磁簧开关的闭合,产生开关动作,以控制液位。常开和常闭是没有注入液体时的状态。连杆浮球液位开关为定制品,依照被测液体的温度、压力、比重、耐酸碱等特性,选择适合规格的浮球。选购时还需确定接续规格(法兰安装或螺纹安装等),各动作点位置,动作形式(常开或常闭)和总长。 产品特点: 磁簧开关触点材料为铑(表层覆盖氧化铑),接点寿命可达200万次。 磁簧开关的特殊处理可使其在200℃高温下正常使用。 可实现多点控制,每个控制点的位置可根据客户需要定制。 所有开关的出线都集中在接线盒里面,施工简单方便,降低配线成本。 接线盒防护等级IP65以上,可根据需要配置本安防爆和隔爆型接线盒。 整体性能可靠。有SUS304、SUS316L、PP、PVDF、PTFE等材质可供选择。 长度可任意定制(Lmax≤5m) 不锈钢液位开关SUS304不锈钢导杆,螺母,SUS316不锈钢浮球,耐高温150度,耐压2.0Mpa,可控制电磁阀、水泵,或作缺水保护,溢水报警。 液位开关有单点控制和多点控制。 液位开关主要有内装舌簧管开关的导杆与带磁钢的浮球组成,当浮球随着被测液位/界面上升或下降时,浮球内永磁体产生的磁场驱动舌簧开关动作,实现开关动作。 因开关完全与外界隔离,故具有使用寿命长,具有防爆、耐蚀性能等特点。 产品规格、型号 液位开关 LS-SS 标准长度或用户自定义长度。 公司提供几十种单点,多点液位开关。有全塑外壳、不锈钢外壳等多种规格供选择。长度从35~6000范围内任选,控制点由单点至5点或更多点100┉点控制。 浮球尺寸φ28×28×φ9.5,Ф45×55×Ф15, Ф52×61×Ф15.等圆柱形浮球。 注:插入长度,导线长度可根据顾客要求,按实际长度制作,并提供3A、6A大电流液位开关,液位与温度的复合开关。 浮球规格 浮球尺寸 适用液体比重 浮球形状 浮球编码 请参看产品目录内各种浮球

接线盒图

B型

材质:铝合金 防护等级:IP65
 

E型

材质:铝合金 防护等级:IP65
 
 
 
 
 

F型

材质:SUS304 防爆等级:ExdⅡBT1~T6
 

P型

材质: 聚碳酸酯 防护等级:IP66/67
 
 
 
 
 
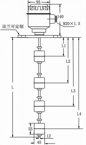
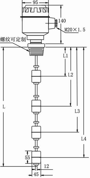
产品尺寸图 LM-E-DQ-S1 LM-E-EM-S1 LM-B-FM-S3 LM-B-FQ-S3 LM-P-SS-P2-4 LM-P-SS-P2
 
 
 
 
 
 
 
 
 
 
 
 
 
 
 
 
 
我们致力于液位自动化控制领域各种新产品的市场开发与推广,我们的目标是:站在世界的中心和你一同感触世界的力量。

连杆浮球液位开关  rame id="EnqCartView" marginwidth="0" marginheight="0" src="http://www.6x0.cn/skin/zhixunskin/image/nopic.gif" frameborder="0" width="400" scrolling="no" height="25" allowtransparency="allowtransparency">rame>
 

标签: 连杆
打赏

免责声明:
本站部份内容系网友自发上传与转载,不代表本网赞同其观点;
如涉及内容、版权等问题,请在30日内联系,我们将在第一时间删除内容!

购物指南

支付方式

商家合作

关于我们

微信扫一扫

(c)2008-2018 DESTOON B2B SYSTEM All Rights Reserved
免责声明:以上信息由相关企业或个人自行免费发布,其真实性、准确性及合法性未证实。请谨慎采用,风险自负。本网对此不承担任何法律责任。

在线咨询

在线咨询:

QQ交流群

微信公众号